|
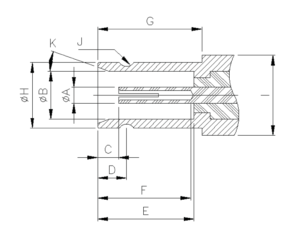
Interface Dimensions | Technical Specifications | DIN 1.0/2.3 Connectors | Download DIN 1.0/2.3 Connector Catalog
The (1.0/2.3) series are through construction and materials especially suited for instruments,
where highest reliability is required, for instance in telecommunication systems.
Three different devices are available:screw-on, slide-on coupling where as the sockets are of same design
for all systems.
GENERAL
- DIN 47297 (1/0/2.3)
|

|